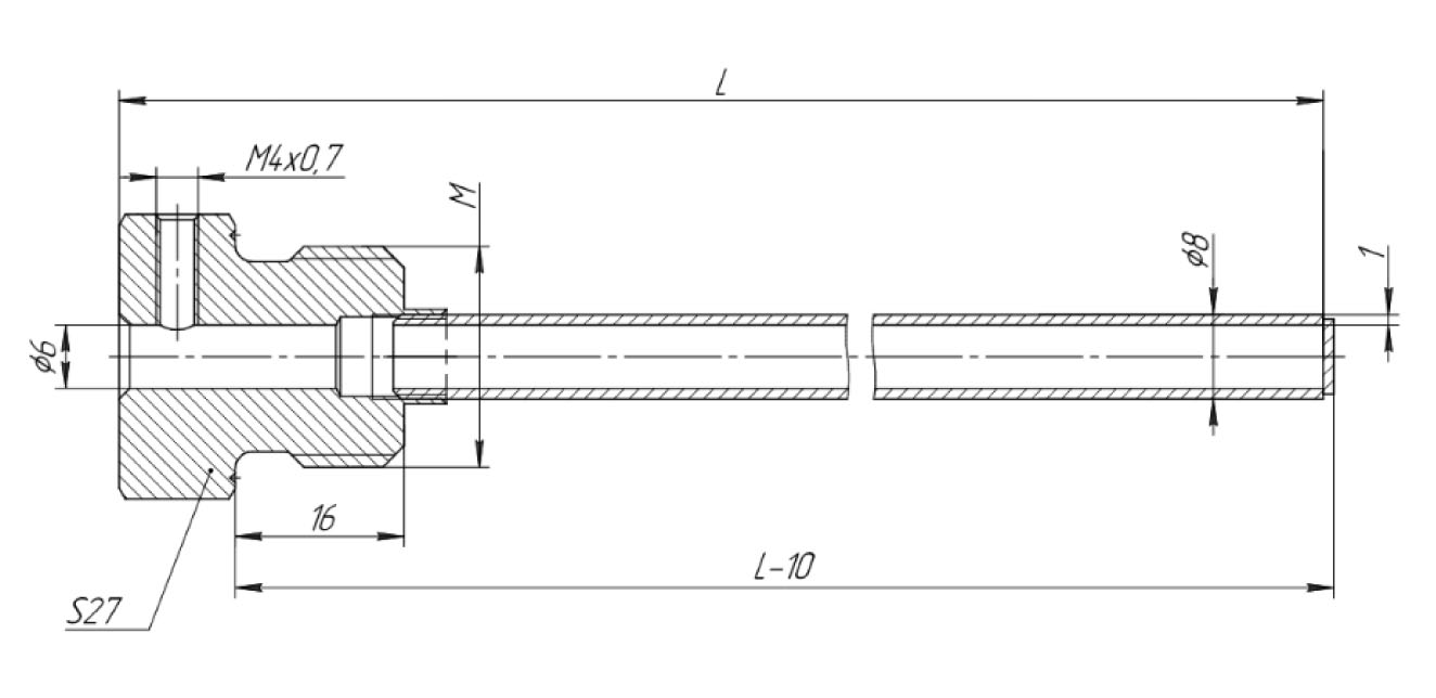
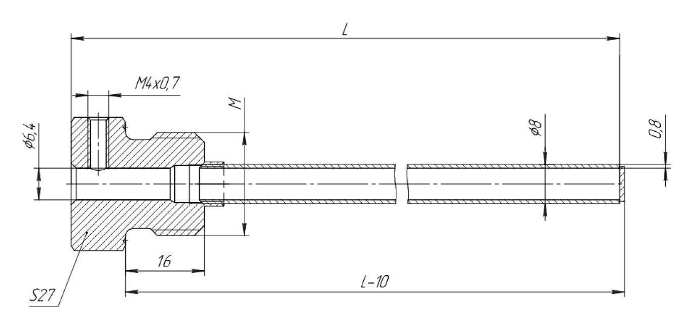
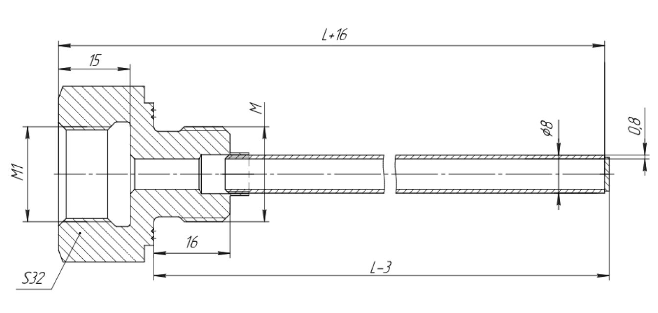
Сварные цилиндрические гильзы защитные ГЗ.6,3 предназначены для установки датчиков температуры с малыми диаметрами монтажной части 5 – 6 мм.
Область применения: ГВС, ХВС, ИТП, БТП, автоклавы, трубопроводы и резервуары с неагрессивными жидкостями и газами к материалу гильзы.
Преимущества использования гильз защитных ГЗ.6,3
- Безопасный монтаж/демонтаж датчика температуры без нарушения герметизации системы.
- Защита монтажной части датчика от механического воздействия рабочей среды.
-
Защита монтажной части датчика от повышенного давления и поломок, связанных с высокими скоростями потока рабочей среды.
- Удобство и быстрота монтажа и фиксации монтажной части датчика в исполнении гильз с крепёжным пломбировочным винтом.
- Маленький показатель тепловой инерции за счёт малого диаметра монтажной части и толщины стенок гильзы.
Технические характеристики
- Температура эксплуатации: от +20 до +200 °С.
- Плотность рабочей среды: до 1000 кг/м3
- Давление рабочей среды: до 6,3 МПа.
- Скорость потока для воды: не более 4 м/с – для гильз с вылетом* до 250 мм.
- Скорость потока для пара:
- не более 80 м/с – для гильз с вылетом до 127 мм;
- не более 46 м/с – для гильз с вылетом от 130 до 250 мм.
* вылет – это фактический размер гильзы, находящийся в потоке.
Материалы деталей, контактирующих с рабочей средой:
- Трубка – 12Х18Н10Т.
- Штуцер и глухая шайба – AISI 304.















